- Joined
- 3 Apr 2023
- Messages
- 5
- Reaction score
- 0
- Country

Hi!
I have a Bosch Greenstar 42CDi Combi boiler, and I have studied the manual for it.
I am interested to find out the difference between the temperature the boiler is heating the radiator temperature to, and the temperature of the water coming back to the boiler. I believe I want the difference between these numbers to be as high as possible, so the majority of the heat is going into the rooms efficiently.
I believe this boiler heats water for radiators between 40c and 90c with 6 points on a wheel between those 50c differences. ((So roughly8.3c between each of the divisions beyond the min).
So , assuming I have my radiator dial set in the '4':
Then we would expect my boiler output radiator temperature to be around 64.9c.
When the heating is on, I see a number on the screen (Marked K). As it stands this is showing '50', but appears to fluctuate between 50 and 66 -- so I am to assume this is the return temperature, suggesting I am only dissipating 14.9c in my radiators?
My questions are:
1/Am I right with the outgoing flow temperature based upon the dial and settings.
2/How do I find out the 'return' temperature
3/How can I 'decrease' my return temperature further *i.e make my radiators more efficient at sharing the warm water temperature with the surrounding air?
Many thanks for all help and guidance.
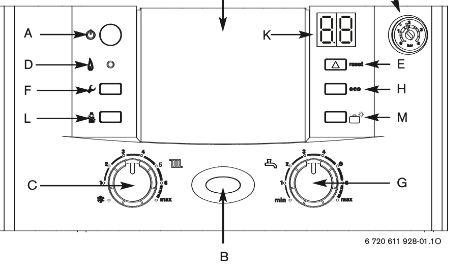
I have a Bosch Greenstar 42CDi Combi boiler, and I have studied the manual for it.
I am interested to find out the difference between the temperature the boiler is heating the radiator temperature to, and the temperature of the water coming back to the boiler. I believe I want the difference between these numbers to be as high as possible, so the majority of the heat is going into the rooms efficiently.
I believe this boiler heats water for radiators between 40c and 90c with 6 points on a wheel between those 50c differences. ((So roughly8.3c between each of the divisions beyond the min).
So , assuming I have my radiator dial set in the '4':
Then we would expect my boiler output radiator temperature to be around 64.9c.
When the heating is on, I see a number on the screen (Marked K). As it stands this is showing '50', but appears to fluctuate between 50 and 66 -- so I am to assume this is the return temperature, suggesting I am only dissipating 14.9c in my radiators?
My questions are:
1/Am I right with the outgoing flow temperature based upon the dial and settings.
2/How do I find out the 'return' temperature
3/How can I 'decrease' my return temperature further *i.e make my radiators more efficient at sharing the warm water temperature with the surrounding air?
Many thanks for all help and guidance.
Last edited:
