Looking for advice for fitting new Toilet onto offset Soil pipe

Joined
11 Jul 2015
Messages
9
Reaction score
0
Country
United Kingdom
Hi

I want to fit a new loo in our house (1964). The loo that is here has a 90 degree left hand outlet, I have looked at a direct replacement and wow they cost loads, so I want to use a modern low level toilet from the cheaper end of the market.
A neighbour who is a retired builder has warned me that the soil pipe and stack are made of some weird fibre concrete (not the asbestos stuff) which is fairly fragile, I am prepared to cut the exposed pipe as I would like to move the loo as far to the left as I can.
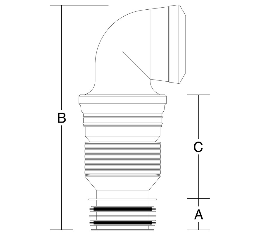
I have looked at various flexible connectors the Multiclick 90 Degree Bend MKC2B90 looks good to me but I have only limited experience, hence this post. I am going to add pics with dimensions.

Cheers
FrontSoilPipeDimensionsSml.jpg
LoofromAboveDimensions.jpg
LooFront.jpg



1-mkc2b90.jpg
 
Last edited:
OK I guess my main questions are what should I look for in the specs of the new loo RE dimensions and is the flexi conector going to do the job? Ta
 
Last edited:
You should be able to carefully cut the pipe off at the wall, and as long as the outlet from the new loo is high enough to give you a sufficient fall, then you can use the flexi connecter to get in to it.

Have you thought about putting in a concealed cistern to neaten things up.
 
Sure the soil pipe isn't pitch fibre? Not sure if they used it above ground or not now, but its very flimsy stuff underground. Be extremely careful or you could end up with a lot more work than you anticipated!
 
In my travels I have found a whole estate (50s/60s )with pitch fibre soil stacks - like bananas up the walls:whistle:
 
Sure the soil pipe isn't pitch fibre? Not sure if they used it above ground or not now, but its very flimsy stuff underground. Be extremely careful or you could end up with a lot more work than you anticipated!

Thanks
Hi That sounds like it, my neighbour said it was only used for a short while in the early 60s and is, as you say very delicate, and that is a major worry to me, if I cut it I will go very carefully I intend to tape it with masking tape first and get some new shape hacksaw blades .
 
You should be able to carefully cut the pipe off at the wall, and as long as the outlet from the new loo is high enough to give you a sufficient fall, then you can use the flexi connecter to get in to it.

Have you thought about putting in a concealed cistern to neaten things up.

Thanks

So I need to make sure the outlet on the new loo is high enough, OK. I though about a concealed unit but I need to do this a economically as possible and a new low level set is reasonable.
 
Thanks
Hi That sounds like it, my neighbour said it was only used for a short while in the early 60s and is, as you say very delicate, and that is a major worry to me, if I cut it I will go very carefully I intend to tape it with masking tape first and get some new shape hacksaw blades .

The problem is with this stuff is its very soft, and can/will collapse very easily. If it does, you will need to renew it back to the nearest point you can find some decent pipework to couple onto. Really don't think masking tape will do very much, sorry to say, if it is pitch fibre.

If it is asbestos cement, DO NOT attempt to cut it!
 

If you need to find a tradesperson to get your job done, please try our local search below, or if you are doing it yourself you can find suppliers local to you.

Select the supplier or trade you require, enter your location to begin your search.


Are you a trade or supplier? You can create your listing free at DIYnot Local

 
Back
Top