• Looking for a smarter way to manage your heating this winter? We’ve been testing the new Aqara Radiator Thermostat W600 to see how quiet, accurate and easy it is to use around the home. Click here read our review.

Skill Saw Required, possibly ...

TBH when you were originally talking about cladding I was thinking more in terms of straight vertical pieces which is the most common type I've done.

If the problem is that the square us slipping you could always glue a strip of sandpaper onto the edge of the lip on the square and if needs be run the timber up against a couple of stops. If your angles aren't 90 and 45 degrees there are alternative (adjustable) squares available:

20221229_223428.jpg


Or maybe even think in terms of a simple home made mitre jig which uses either sandpaper or screws filed to chisel points (oriented to the grain) to grip:

20221229_224451.jpg


Or is your issue something else, such as spelching or break-out?
 
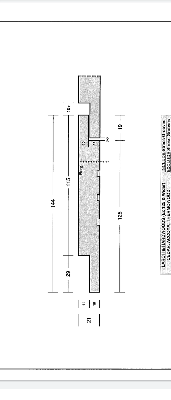
This is the section drawing of the cladding J&K.

I'm cutting it at 90 degrees at a 40 degree angle to achieve the join, so one gets cut face up and the other face down to achieve apposing cuts for the downward facing join, between these two cuts I'm struggling to hold the bed of the saw flat or the square square to achieve the perfect cuts.
 

Attachments

  • Screenshot_20221229-230112.png
    Screenshot_20221229-230112.png
    293 KB · Views: 93
TBH when you were originally talking about cladding I was thinking more in terms of straight vertical pieces which is the most common type I've done.

If the problem is that the square us slipping you could always glue a strip of sandpaper onto the edge of the lip on the square and if needs be run the timber up against a couple of stops. If your angles aren't 90 and 45 degrees there are alternative (adjustable) squares available:

View attachment 290494

Or maybe even think in terms of a simple home made mitre jig which uses either sandpaper or screws filed to chisel points (oriented to the grain) to grip:

View attachment 290497

Or is your issue something else, such as spelching or break-out?
some years ago i was talking spelching and a moderator was absolutely incandescent with anger ---
i was stunned and amazed as a felow mod at his anger about fine quality woodwork --

his brain had read the word as fel------ please dont join the dots :giggle:
:giggle::giggle:

i have led such a sheltered life:sick:
 

If you need to find a tradesperson to get your job done, please try our local search below, or if you are doing it yourself you can find suppliers local to you.

Select the supplier or trade you require, enter your location to begin your search.


Are you a trade or supplier? You can create your listing free at DIYnot Local

 
Back
Top