- Joined
- 28 Apr 2004
- Messages
- 8,358
- Reaction score
- 962
- Country

Is your heater switched off at the wall switch, if not you will be reading through any other heaters on your E7 system


One hopes that was not the case, but another, perhaps more likely, thought occurred to me ...Is your heater switched off at the wall switch, if not you will be reading through any other heaters on your E7 system
Just to clarify. I removed the 3 elements to check

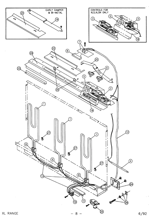
If it is a fuse, 'thermal cutout' or something like that, then very much so - but it would mean that electricity was not getting to the elements, and (maybe I'm wrong), I thought you had confirmed that electricity had got to the elements.Gents, on the diagram above, item#8, looks like a fuse or similar. I have no continuity through this. Could that be the problem?
Gents, on the diagram above, item#8, looks like a fuse or similar. I have no continuity through this. Could that be the problem?
I can confirm that there's power to the elements
If you mean that each element measured about 8Ω when measured separately (and disconnected), then there must surely be something wrong with your meter or the way you are using it. Even allowing for the fact that the resistance would rise a bit when it got hot, an 8Ω element would be about 5-6kW, which would make no sense.Just to check for future reference I used the multimeter in the 0 - 200ohms range and all 6 elements had a reading in the 8ohm region.
If you need to find a tradesperson to get your job done, please try our local search below, or if you are doing it yourself you can find suppliers local to you.
Select the supplier or trade you require, enter your location to begin your search.
Are you a trade or supplier? You can create your listing free at DIYnot Local